2 year Manufacturer's Warranty:
Below are the terms of Manufacturer’s warranty offered by Mitchell Engineering Food Equipment Pty Ltd. 23 Storie Street Clontarf.
Warranty Coverage:
We guarantee that our products are free from defects in materials and workmanship under normal use for a period of 2 years from the date of your purchase
Warranty Claims Process:
Warranty Exclusions:
This warranty does not cover defects or damage arising from misuse, modification, neglect, normal wear and tear, or force majeure events beyond our control or failure to adhere to general maintenance as specified within the product manual.
This warranty does not apply to consumables such as batteries, ink, filters and globes.
Remedies:
If a defect covered by this warranty is properly notified to us within the warranty period, and is determined to be covered, we will, at our discretion, repair or replace the defective product.
Any defective parts/products replaced by us under this warranty will be deemed to be the property of MEFE.
Limitation of Liability:
Our liability is limited to the repair or replacement of the defective product and excludes consequential or incidental damages to the extent permitted by law.
Consumer Rights:
Our goods come with guarantees that cannot be excluded under the Australian Consumer Law.
You are entitled to a replacement or refund for a major failure and compensation for any other reasonably foreseeable loss or damage.
You are also entitled to have the goods repaired or replaced if the goods fail to be of acceptable quality and the failure does not amount to a major failure.
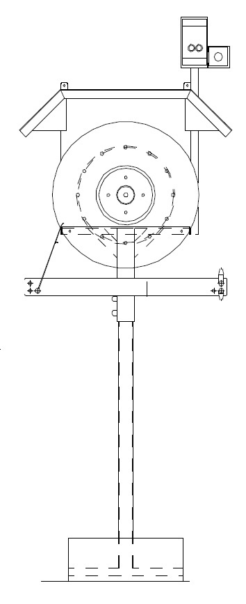
The Sausage Casing Pulling Wheel flushing Machine CAT 152PWF is designed to support gut cleaning lines PULLING WHEEL DE-BLOODING - Developed to effectively assist in the Final pressure roll to rinse internal flush - Higher pulling from flushing table.
It suits professional meat processing environments where hygiene, reliability, and consistent operation are essential.
Built from stainless steel and powered by a 0.44kW motor with overload protection, this MEFE pulling wheel integrates smoothly into commercial food processing facilities across Australia.

Developed to effectively assist in the Final pressure roll to rinse internal flush
High pulling from flushing table
Designed for natural sausage casing processing
Stainless steel construction for hygiene focused environments
Motor fitted with overload protection for operational reliability
CE certified for commercial food processing use
Motor power: 0.44 kW
Electrical supply: 400 V 3 phase / 240 V
Control voltage: 24 V relay switching
Construction material: AISI 304 stainless steel