2 year Manufacturer's Warranty:
Below are the terms of Manufacturer’s warranty offered by Mitchell Engineering Food Equipment Pty Ltd. 23 Storie Street Clontarf.
Warranty Coverage:
We guarantee that our products are free from defects in materials and workmanship under normal use for a period of 2 years from the date of your purchase
Warranty Claims Process:
Warranty Exclusions:
This warranty does not cover defects or damage arising from misuse, modification, neglect, normal wear and tear, or force majeure events beyond our control or failure to adhere to general maintenance as specified within the product manual.
This warranty does not apply to consumables such as batteries, ink, filters and globes.
Remedies:
If a defect covered by this warranty is properly notified to us within the warranty period, and is determined to be covered, we will, at our discretion, repair or replace the defective product.
Any defective parts/products replaced by us under this warranty will be deemed to be the property of MEFE.
Limitation of Liability:
Our liability is limited to the repair or replacement of the defective product and excludes consequential or incidental damages to the extent permitted by law.
Consumer Rights:
Our goods come with guarantees that cannot be excluded under the Australian Consumer Law.
You are entitled to a replacement or refund for a major failure and compensation for any other reasonably foreseeable loss or damage.
You are also entitled to have the goods repaired or replaced if the goods fail to be of acceptable quality and the failure does not amount to a major failure.
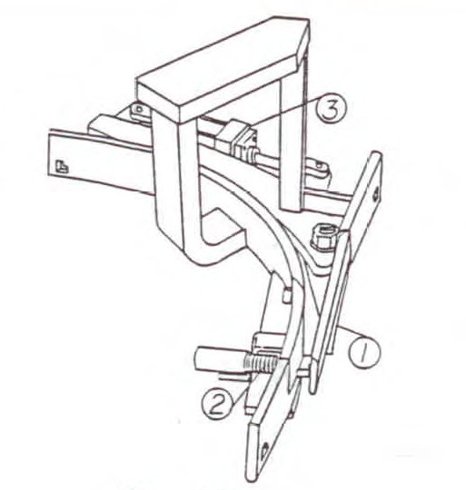
Pneumatic Left Hand Cut Though Rail Switch Rail Gate
Powered Rail Gate is a pneumatic overhead track switch designed for controlled product divert on overhead rail. Built with heavy duty galvanised zinc plated construction, it is suited to meat processing facilities, abattoirs and food production environments requiring reliable remote operation.
With an integrated pneumatic cylinder and solenoid valve for electrical activation, this rail switch enables smooth and efficient line changes while supporting loads up to 680 kg.

Integrated pneumatic cylinder with solenoid valve for remote electrical activation.
Heavy duty construction with galvanised zinc plated finish.
Designed for 12.7 mm x 63.5 mm rail.
Supports maximum loading of 680 kg.
Overhead bridge height headroom 255 mm with 342.9 mm hanger length.
Sloping 63.5 mm drop on curve to promote reliable gravity assisted divert.
Optional low headroom setup for skids.
Optional stainless steel construction available.
Rail Size: 12.7 mm x 63.5 mm
Switch Size: 48 x 38 x 38 cm
Weight: 22.7 kg
Maximum Loading: 680 kg
Overhead Bridge Height Headroom: 255 mm
Hanger Length: 342.9 mm
Construction: Galvanised zinc plated
Activation: Pneumatic cylinder with solenoid valve